| 公稱壓力PN | 強度試驗壓力Mpa | 空氣密封試驗壓力Mpa | 低壓密封試驗(Mpa) | 適用介質 | |||
| 2.5 | 3.75 | 2.75 | (-40~+80) | ||||
H42N立式液化氣止回閥主要零件材料:
| 零 件 名 稱 | 材 料 |
| 閥 體 閥 蓋 | 碳素鋼 WCB |
| 閥 瓣 | 25# 密 封 面 尼 龍 1010 |
| 中法蘭螺栓 | 35CrMoA |
| 中法蘭螺母 | 35# |
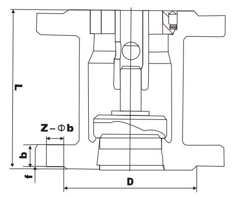
H42N立式液化氣止回閥主要外形尺寸和連接尺寸

| DN | L | D | D1 | D2 | b | f | z-d |
| 50 | 140 | 160 | 125 | 100 | 20 | 3 | 4-*18 |
| 65 | 160 | 180 | 145 | 120 | 22 | 3 | 8-*18 |
| 80 | 185 | 195 | 160 | 135 | 22 | 3 | 8-*18 |
| 100 | 210 | 135 | 190 | 160 | 24 | 3 | 8-*23 |
| 125 | 250 | 270 | 220 | 188 | 28 | 3 | 8-*25 |
| 150 | 300 | 300 | 250 | 218 | 30 | 3 | 8-*25 |
| 200 | 380 | 375 | 310 | 278 | 34 | 3 | 12-*25 |
溫馨提示:
本文中所有文字、數據、圖片均只適用于參考。需要查看更多的H42N立式液化氣止回閥性能參數、結構尺寸參數、價格等詳情,或要求高質量印刷樣本,請聯系我們。