SP45F數字鎖定平衡閥
產品概況
產品型號:SP45F
公稱通徑:DN15~350mm
公稱壓力:PN1.6~2.4MPa
適用溫度:≤120℃
主要材質:灰鑄鐵、球墨鑄鐵、鑄鋼
法蘭標準:GB/T17241.6GB/T9113
試驗標準:GB/T13927API598
一、SP45F數字鎖定平衡閥產品概述
百鋼閥門集團生產銷售的SP45F、SP15F數字鎖定平衡閥是一種具有數字鎖定特殊功能的調節型閥門,采用直流型閥體結構,具有更好的等百分比流量特性,能夠合理地分配流量,有效地解決供熱(空調)系統中存在的室溫冷熱不均問題。同時能準確地調節壓降和流量,用以改善管網系統中液體流動狀態,達到管網液體平衡和節約源的目的。閥門設有開啟度指示、開度鎖定裝置及用于流量測定的測壓小閥,只要在各支路及用戶入口裝上適當規格的平衡閥,并用專用智能儀表進行一次性調試后鎖定,將系統的總水量控制在合理的范圍內、從而克服了“大流量,小溫差”的不合理現象。該產品是供熱系統中的理想產品。既可安裝在供水管上,也可以安裝在回水管上,一般我們建議安裝在回水管上,尤其對于高溫環路,為方便調試,更要裝在回水管上,安裝了平衡閥的供(回)水管不必再設截止閥。
二、 SP45F數字鎖定平衡閥主要零件材料
| 零件名稱 | 閥體、閥蓋 | 閥桿 | 閥瓣 | 密封墊 |
| 材料 | 灰鑄鐵、球墨鑄鐵、鑄鋼 | 不銹鋼 | 球墨鑄鐵 | 橡膠石棉板 |
三、 SP45F數字鎖定平衡閥主要技術參數
| 公稱壓力(MPa) | 殼體試驗壓力(MPa) | 適用溫度 | 適用介質 | 特性曲線 | 安裝使用范圍 |
| 1.6 | 2.4 | ≤120℃ | 水、油等非腐蝕性液體 | 等百分比 | 管網系統主干、分支干、室內供水干管、分支立管及多臺鍋爐 |
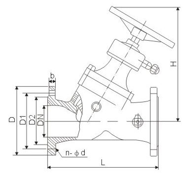
四、SP45F數字鎖定平衡閥主要連接尺寸

| 型 號 | 公稱通徑(mm) | 尺 寸(mm) | |
| L | H | ||
| SP15F-25 | 15 | 100 | 128 |
| 20 | 115 | 128 | |
| 25 | 125 | 130 | |
| 32 | 140 | 150 | |
| 40 | 160 | 187 | |
| SP45F-16/25 | 32 | 180 | 230 |
| 40 | 200 | 242 | |
| 50 | 230 | 250 | |
| 65 | 290 | 260 | |
| 80 | 310 | 329 | |
| 100 | 350 | 340 | |
| 125 | 400 | 424 | |
| 150 | 480 | 454 | |
| 200 | 550 | 517 | |
| 250 | 622 | 573 | |
| 300 | 698 | 617 | |
| 350 | 787 | 705 | |
溫馨提示:
本文中所有文字、數據、圖片均只適用于參考。需要查看更多的SP45F數字鎖定平衡閥性能參數、結構尺寸參數、價格等詳情,或要求高質量印刷樣本,請聯系我們。